返回 栅极驱动及IPM
NSG2104 700V集成自举单相高低侧功率MOSFET/IGBT驱动芯片
NSG2104 700V集成自举单相高低侧功率MOSFET/IGBT驱动芯片
一、概述
NSG2104是一款高压、高速功率MOSFET高低侧驱动芯片。具有独立的高侧和低侧参考输出通道。NSG2104采用高低压兼容工艺使得高、低侧栅驱动电路可以单芯片集成,逻辑输入电平兼容低至 3.3V的CMOS或LSTTL逻辑输出电平。 NSG2104其浮动通道可用于驱动高压侧N沟道功率 MOSFET,浮地通道最高工作电压可达700V。NSG2104采用SOIC8封装,可以在-40℃至125℃温度范围内工作。
二、产品特性
自举工作的浮地通道
最高工作电压为+700V
兼容 3.3V, 5V和15V输入逻辑
dVS/dt 耐受能力可达±50V/ns
Vs负偏压能力达-9V
集成VCC欠压锁定电路
-- 欠压锁定正向阈值 8.9V
-- 欠压锁定负向阈值 8.2V
芯片传输延时特性
-- 开通/关断传输延时Ton/Toff=650ns/130ns
-- 延迟匹配时间50ns
防止直通保护
-- 死区时间520ns
宽温度范围-40°C~125°C
输出级拉电流/灌电流能力300mA/600mA
集成自举二极管
符合RoSH标准
SOIC8 (S)
三、应用
电机控制
空调/洗衣机
通用逆变器
逆变器驱动
四、封装信息

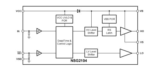
五、简化示意图
东莞市中铭电子贸易有限公司 版权所有 |